![]() | ![]() | ||||
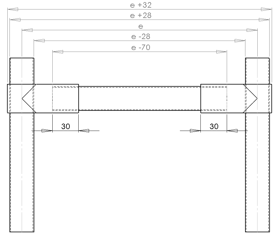
| e (mm) | 500 | 750 | 1000 | 1500 | 2000 |
| F (N) [sp. 1 mm] | 1200 | 800 | 600 | 400 | 300 |
| Fz (mm) [sp. 1 mm] | 3 | 6 | 10 | 13 | 42 |
| F (N) [sp. 2 mm] | 2000 | 1300 | 1000 | 670 | 500 |
| Fz (mm) [sp. 2 mm] | 2 | 6 | 10 | 22 | 39 |
![]() | ![]() | ![]() | ![]() | |
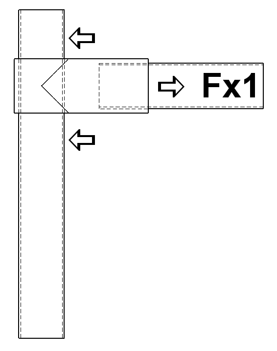
| M (Nm) | Fx1 (N) | Fx2 (N) | Fz1 (N) | Fz2 (N) |
| 10 | 700 | 600 | 500 | 1900 |
| 15 | 900 | 1000 | 900 | 2900 |
Ti serve aiuto? Telefona 0331 467111 oppure scrivi una email
I nostri suggerimenti circa la tecnica d'impiego non hanno carattere impegnativo.
La responsabilità per tutto quello che concerne l'utilizzo e la lavorazione dei nostri materiali ricade sull'acquirente.
I dati tecnici menzionati sono da considerarsi orientativi e con riserva di modifica senza alcun preavviso.